一次性使用心脏固定器注册审查指导原则
Official Full Text
一次性使用心脏固定器注册审查指导原则
国家药品监督管理局医疗器械技术审评中心2022年第41号通告
Source: https://www.cmde.org.cn/directory/web/cmde/images/1669363978751019181.docx
附件1
一次性使用心脏固定器注册审查指导原则
本指导原则旨在指导注册申请人对一次性使用心脏固定器注册申报资料的准备及撰写,同时也为技术审评部门提供参考。
本指导原则是对一次性使用心脏固定器的一般要求,申请人应依据产品的具体特性确定其中内容是否适用。若不适用,需具体阐述理由及相应的科学依据,并依据产品的具体特性对注册申报资料的内容进行充实和细化。
本指导原则是供注册申请人和技术审评人员使用的指导性文件,但不包括审评审批所涉及的行政事项,亦不作为法规强制执行,应在遵循相关法规的前提下使用本指导原则。如果有能够满足相关法规要求的其他方法,也可以采用,但是需要提供详细的研究资料和验证资料。
本指导原则是在现行法规和标准体系以及当前认知水平下制定,随着法规和标准的不断完善,以及科学技术的不断发展,相关内容也将适时进行调整,以确认申报产品是否符合法规要求。
一、适用范围
本指导原则适用于一次性使用心脏固定器。根据《医疗器械分类目录》规定,一次性使用心脏固定器管理类别为Ⅱ类,子目录为03神经和心血管手术器械,一级产品类别为14神经和心血管手术器械-其他器械,二级产品类别为02固位器。
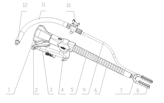
常见产品及组件举例如下图:





本指导原则不适用于重复使用的心脏固定器。
二、注册审查要点
(一)监管信息
申请人应提供申请表、既往沟通记录(如不适用,应当明确声明申报产品没有既往申报和/或申报前沟通)、主文档授权信(如适用)、关联文件及其他管理信息等。
1.产品名称的要求
产品名称应以产品的预期用途和适用范围为依据,一般应为一次性使用心脏固定器(以下简称为“心脏固定器”)、一次性使用心脏稳定器。
2.分类代码
根据《医疗器械分类目录》规定,心脏固定器管理类别为Ⅱ类,子目录为03神经和心血管手术器械,一级产品类别为14神经和心血管手术器械-其他器械,二级产品类别为02固位器。
3.注册单元划分的原则和实例
注册单元划分应根据相关法规文件要求,医疗器械注册单元原则上以产品的技术原理、结构组成、性能指标和适用范围为划分依据。
心脏固定器产品不同规格、型号可为同一注册单元,如吸引固定型和机械固定型产品可划为同一注册单元。
本指导原则列举的均为常见的心脏固定器产品,可作为同一注册单元,但还可能有其他不同结构形式的其他产品,如符合本指导原则的注册单元划分原则,可视实际情况判定其注册单元划分。
4.产品列表
以表格形式列出拟申报产品的型号、规格、结构及组成、附件,以及每个型号规格的标识(如型号或部件的编号,器械唯一标识等)和描述说明(如尺寸、材质等)。
5. 关联文件
5.1 境内注册申请人应当提供:
5.1.1企业营业执照副本或事业单位法人证书的复印件。
5.1.2按照《创新医疗器械特别审查程序》审批的境内医疗器械申请注册时,应当提交通过创新医疗器械审查的相关说明。
5.1.3按照《医疗器械应急审批程序》审批的医疗器械产品申请注册时,应当提交通过医疗器械应急审批的相关说明。
5.1.4委托其他企业生产的,应当提供受托企业资格文件(营业执照副本复印件)、委托合同和质量协议。
5.1.5进口医疗器械注册申请人通过其在境内设立的外商投资企业按照进口医疗器械产品在中国境内企业生产有关规定申请注册时,应当提交进口医疗器械注册申请人同意注册申报的声明或授权文件;还应提供注册申请人与进口医疗器械注册申请人的关系(包括法律责任)说明文件,应当附相关协议、质量责任等文件。
5.2 境外注册申请人应当提供:
5.2.1企业资格证明文件:境外注册申请人注册地所在国家(地区)公司登记主管部门或医疗器械主管部门出具的能够证明境外注册申请人存续且具备相应医疗器械生产资格的证明文件;或第三方认证机构为境外注册申请人出具的能够证明境外注册申请人具备相应医疗器械生产资格的证明文件。
5.2.2境外注册申请人注册地或生产地所在国家(地区)医疗器械主管部门出具的准许该产品上市销售的证明文件,未在境外注册申请人注册地或生产地所在国家(地区)上市的创新医疗器械可以不提交。
5.2.3境外注册申请人注册地或者生产地所在国家(地区)未将该产品作为医疗器械管理的,注册申请人需要提供相关文件,包括注册地或者生产地所在国家(地区)准许该产品上市销售的证明文件,未在境外注册申请人注册地或生产地所在国家(地区)上市的创新医疗器械可以不提交。
5.2.4在中国境内指定代理人的委托书、代理人承诺书及营业执照副本复印件。
5.2.5按照《创新医疗器械特别审查程序》审批的进口医疗器械申请注册时,应当提交通过创新医疗器械审查的相关说明。
5.2.6按照《医疗器械应急审批程序》审批的进口医疗器械产品申请注册时,应当提交通过医疗器械应急审批的相关说明。
5.2.7委托其他企业生产的,应当提供受托企业资格文件、委托合同和质量协议。
6.主文档授权信
如适用,注册申请人应当对主文档引用的情况进行说明。注册申请人应当提交由主文档所有者或其备案代理机构出具的授权注册申请人引用主文档信息的授权信。授权信中应当包括引用主文档的注册申请人信息、产品名称、已备案的主文档编号、授权引用的主文档页码/章节信息等内容。
(二)综述资料
1.产品的结构组成
心脏固定器产品通常分为吸引固定型和机械固定型。一般由调节手柄、固定卡座、万向支撑臂、吸盘、负压吸引管组成,也可由压脚叶(或吸脚固定座、吸脚)、负压连接管、三通阀、定向夹头组件、调节臂、固定座、调节手柄、旋柄、内穿拉紧钢丝组件组成。
2.产品工作原理
心脏固定器产品主要通过活动调节臂支撑一固定终端,按压在心脏表面,采用负压吸引方式或机械压迫方式,在心脏不停跳的情况下,对心脏手术区域进行固定,提供相对稳定的手术操作视野。
3.包装描述
应说明心脏固定器产品所有组成的包装信息,明确其无菌屏障系统信息。
4.产品的适用范围/禁忌证
适用范围:心脏固定器适用于心脏搭桥手术时,在心脏的目标血管处建立一个固定的手术区域。
禁忌证:暂未发现。
5.产品的不良事件历史记录
目前非心脏固定器主要不良事件有:产品损坏、部件缺失等。未见心脏固定器产品的召回信息。
6.研发背景
阐述申请注册产品的研发背景和目的。如有参考的同类产品或前代产品,宜提供其上市情况;同时列表比较说明与同类产品在工作原理、结构组成、原材料、性能指标、灭菌方式、适用范围等方面的异同。
(三)非临床资料
1.产品风险管理资料
注册申请人需对产品全生命周期实施风险管理,提交风险管理资料,参照YY/T 0316《医疗器械风险管理对医疗器械的应用》。注册申请人在产品注册上市前,需对风险管理过程进行评审。评审需至少确保:风险管理计划已被适当地实施,综合剩余风险是可接受的。评审结果需形成风险管理报告。申报资料格式需符合现行有效的法规文件的要求。
除无源医疗器械已识别的共性风险外,对于心脏固定器产品,注册申请人至少还需关注以下方面的风险:
(1)生物或化学危害
产品材料的选择未经过生物学评价,生物不相容材料接触患者,造成患者刺激过敏等症状,损害患者健康;生产过程中原材料、包装材料等微生物的污染,导致产品菌落超标,产品灭菌不彻底,或生产环境的微生物超标,导致灭菌不彻底,产品带菌,导致细菌进入人体,患者被细菌感染,严重时导致发热、休克。
(2)操作危害
与牵开器不配套,不能固定在支架上,无法进行手术操作,延误治疗,影响手术效果。
(3)灭菌
(若采用环氧乙烷灭菌)对环氧乙烷残留量的控制未确认,或未能按确认的结果实施控制,解析不彻底,致使环氧乙烷残留量超标,超量的环氧乙烷输入人体,损害患者健康。
2. 产品技术要求
注册申请人应结合产品的技术特征和临床使用情况来编制技术要求,对宣称的所有技术参数和功能,应在产品技术要求中予以规定;产品技术要求中的内容引用国家标准、行业标准的应保证其适用性。若以下相关性能指标要求(包括国家标准或行业标准中规定的要求)未适用,注册申请人应在提交注册材料的研究资料中对未适用情况进行合理的说明。
产品技术要求应包括但不局限于以下内容:
2.1外观
心脏固定器产品应明确外观要求。产品外观一般应光滑,表面应无非设计预期的锋棱、裂纹、毛刺等。
2.2尺寸
心脏固定器产品的压脚叶、调节臂、固定卡座等组件的尺寸及允差,在临床使用中对于稳定心脏靶血管区域、提供手术操作空间具有重要作用,应标明上述关键组件的尺寸及允差。。
2.3耐腐蚀性
心脏固定器产品应明确其耐腐蚀性的要求。产品中不锈钢材料组件的耐腐蚀性能应至少符合相关标准(如YY/T 0149)中5.4b级的规定。
2.4吸引组件的性能
心脏固定器产品中设有内腔预期可进行吸引的组件,应明确其通畅性、组件牢固性能、耐负压性能等要求。如负压吸引管、压脚叶等组件的内孔应畅通,不得有堵塞现象;负压吸引管路组件连接部位应牢固可靠;三通阀组件应开闭灵活,在打开状态下,压脚叶、负压吸引管等组件在承受企业设定的负压值并保持一定时间,不得出现扁塌或变形,且心脏固定器能吸引一定重量的物件,保持一定时间不脱落,在三通阀关闭状态下,应能有效阻断气路。
2.5化学性能
心脏固定器产品中直接和间接接触人体组织的组件应明确其化学性能要求。化学性能包括重金属、酸碱度、蒸发残渣、还原物质、紫外吸光度、EO残留量(如适用)等。
2.6生物性能
心脏固定器产品通过一个已验证的灭菌过程后应无菌。
2.7其他
为了保证器械安全有效而设定的其他性能,应能满足使用要求。
产品的检验方法应根据技术性能指标设定,检验方法应优先采用公认的或已颁布的标准检验方法;如果没有现行的标准检验方法可采用时,规定的检验方法应具有可操作性和可重现性,必要时可附相应图示进行说明,文本较大的可以附录形式提供。
3.研究资料
3.1产品性能研究
应当提供产品性能研究资料以及产品技术要求的研究和编写说明,应至少对所申报产品的代表性样件进行功能性、安全性指标研究,如配合性能、使用性能等。应对产品的整体性能及在模拟临床使用的情况进行评价,若通过台架试验不能确认产品风险控制措施有效性时,必要时可开展动物试验研究。注册人应提交与质量控制相关的其他指标的确定依据,所采用的标准或方法、采用的原因及理论基础。
3.2生物相容性的评价研究
心脏固定器直接与人体组织接触,应按照GB/T 16886系列标准对产品进行全面的生物学评价,并提交生物学评价报告证明其安全性。在进行生物评价过程中,应明确心脏固定器与人体接触组件或部位的材料性质,如材料牌号、化学成分、生产加工中引入加工助剂等。
生物相容性评价研究资料应当包括:生物相容性评价的依据和方法;产品所用材料的描述及与人体接触的性质;实施或豁免生物学试验的理由和论证;对于现有数据或试验结果的评价。
3.3产品灭菌工艺研究
3.3.1应明确灭菌工艺(方法和参数)及其选择依据和无菌保证水平(SAL),并提供灭菌确认报告。心脏固定器的无菌保证水平(SAL)应达到1×10-6。
3.3.2残留毒性:若灭菌使用的方法容易出现残留,应当明确残留物信息、控制标准及采取的处理方法,并提供研究资料。
3.4产品有效期/使用期限和包装研究
可参考《无源植入性医疗器械货架有效期注册申报资料指导原则》对心脏固定器货架有效期和包装完整性进行研究。
货架有效期的验证试验通常可分为加速稳定性试验和实时稳定性试验。若注册申报时仅完成加速稳定性研究,分析产品是否适用于加速老化,若适用,可采用加速老化研究资料作为货架有效期的支持性资料。老化方案和报告中宜明确具体老化条件,如实时老化温度、湿度、时间;加速老化温度、湿度、环境温度(TRT)、时间等。提供老化方案中验证项目、验证方法及接受标准、取样时间点及各项目样品数量的确定依据和相关研究资料。
货架有效期验证项目包括产品自身性能和包装系统性能两方面。产品自身性能验证需选择与心脏固定器货架有效期密切相关的物理、化学项目,包括耐腐蚀性。涉及产品生物相容性可能发生改变的产品,需进行生物学评价。包装系统性能验证根据适用情况可选择目力检测包装密封完整性、染色液穿透法测定透气包装的密封泄漏、气泡法测定软性包装泄漏、软性屏障材料密封强度、无约束包装抗内压破坏、微生物屏障等试验。
产品包装完整性除考虑储存条件外,还需考虑运输条件,根据适用情况可选择人工搬运、堆码、振动、低气压、集中冲击等模拟运输试验验证包装系统性能。
4.产品检验报告
注册申请人应提供产品检验报告,产品检验报告应符合国务院药品监督管理部门的要求,可以是医疗器械注册申请人的自检报告,也可以是委托具有医疗器械检验资质的医疗器械检验机构出具的检验报告。
注册申请人应提供典型性检验样品的选择说明,所检验型号产品应当是本注册单元内能够代表申报的其他型号产品安全性和有效性的典型产品。若一个型号规格不能覆盖,应选择不同型号规格进行差异性检验,如如吸引固定型和机械固定型产品组件应分别送检。
(四)临床评价资料
对于符合《免于临床评价医疗器械目录》(以下简称《目录》)下分类编码为03-14-02的一次性使用心脏固定器,免于进行临床评价,因此一般不涉及临床评价资料。对于《目录》以外的心脏固定器,需提交相应的临床评价资料。
(五)产品说明书和标签样稿
产品说明书和标签的编写要求应符合相关法规文件和YY/T 0466.1的要求。所提交的文本和标签样稿应内容清晰、完整。说明书中的适用范围、禁忌证、注意事项、警示信息、有效期等信息应与产品综述资料、研究资料和临床评价资料中所描述及验证的内容一致。
(六)质量管理体系文件
详述产品的工艺原理和生产过程,提供生产工艺流程图,明确特殊过程和关键工序,提供特殊过程的确认资料以及关键工序的验证资料。明确产品的清洗过程,提供经清洗过程后加工助剂残留控制的验证资料。当某一生产过程的输出不能由后续的监视或测量加以验证时,需对这样的过程实施确认并提供相应的过程确认报告。
三、参考文献
[1]中华人民共和国国务院.医疗器械监督管理条例:中华人民共和国国务院令第739号[Z].
[2]国家市场监督管理总局.医疗器械注册与备案管理办法:国家市场监督管理总局令第47号[Z].
[3]国家食品药品监督管理局.医疗器械说明书和标签管理规定:国家食品药品监督管理总局令第6号[Z].
[4]国家药品监督管理局.免于临床评价医疗器械目录:国家药监局关于发布免于临床评价医疗器械目录的通告2021年第71号[Z].
[5]国家药品监督管理局.医疗器械临床评价技术指导原则等5项技术指导原则:国家药监局关于发布医疗器械临床评价技术指导原则等5项技术指导原则的通告2021年第73号[Z].
[6] GB/T 191,包装储运图示标志[S].
[7] GB/T 14233.1,医用输液、输血、注射器具检验方法第1部分:化学分析方法[S].
[8]GB/T 14233.2,医用输液、输血、注射器具检验方法第2部分:生物学试验方法[S].
[9]GB/T 16886.1,医疗器械生物学评价第1部分:风险管理过程中的评价与试验[S].
[10]GB/T 16886.5,医疗器械生物学评价第5部分:体外细胞毒性试验[S].
[11]GB/T16886.10,医疗器械生物学评价第10部分:刺激与皮肤致敏试验[S].
[12]GB/T 16886.11,医疗器械生物学评价第11部分:全身毒性试验[S].
[13]YY/T 0149,不锈钢医用器械耐腐蚀性能试验方法[S].
[14]YY/T 0313,医用高分子产品包装和制造商提供信息的要求[S].
[15]YY/T 0316,医疗器械风险管理对医疗器械的应用[S].
[16]YY/T 0466.1,医疗器械 用于医疗器械标签、标记和提供信息的符号第 1 部分:通用要求[S].
[17]YY/T 0615.1,标示“无菌”医疗器械的要求第1部分:最终灭菌医疗器械的要求[S].
[18]YY/T 0681.1,无菌医疗器械包装试验方法第1部分:加速老化试验指南[S].

