热湿交换器注册技术审查指导原则(2020年第39号)
本指导原则旨在为申请人进行热湿交换器(HME)产品注册申报提供技术指导,同时也为药品监督管理部门对注册申报资料的审评提供技术参考。
本指导原则是对热湿交换器产品注册申报资料的一般要求,申请人应依据具体产品的特性对注册申报资料的内容进行充实和细化,并依据具体产品的特性确定其中的具体内容是否适用,若不适用,需具体阐述其理由及相应的科学依据。
本指导原则是对申请人和审评人员的指导性文件,但不包括注册审批所涉及的行政事项,亦不作为法规强制执行,如果有能够满足相关法规要求的其他方法,也可以采用,但是需要提供详细的研究资料和验证资料。应在遵循相关法规和标准的前提下使用本指导原则。 本指导原则是在现行法规和标准体系以及当前认知水平下制定的,随着法规和标准的不断完善,以及科学技术的不断发展,本指导原则相关内容也将进行适时的调整。
适用范围
本指导原则适用于《医疗器械分类目录》(国家食品药品监督管理总局公告2017第104号)中管理类别为Ⅱ类的热湿交换器,分类编码为08-05-04(呼吸、麻醉和急救器械-呼吸、麻醉、急救设备辅助装置-热湿交换器)。通常由储水储热材料和壳体组成,包括一个进气口和一个出气口,通过保留患者呼气中部分水分和热量,并在吸气过程中将其返回到呼吸道的器械。用于提高输送给呼吸道的气体中的水分含量和温度。
技术审查要点
产品名称要求
产品名称应符合《医疗器械通用名称命名规则》(国家食品药品监督管理总局令第19号)的要求,可采用相关国家标准、行业标准上的通用名称,或以产品结构和适用范围为依据命名。如热湿交换器、热湿交换过滤器。根据产品一次性使用或者灭菌情况,产品名称中可带有“一次性使用”或“无菌”字样。
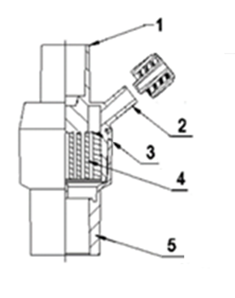
产品的结构和组成
产品通常由外壳、滤芯(如有)、热湿交换介质和接口等组成。


图1
1-机器端口;2-辅助端口;3-外壳;4-热湿交换介质;5-患者端口

图2
1-患者端口;2-外壳;3-热湿交换介质;4 -机器端口

图3
1-患者端口;2-外壳;3-热湿交换介质;4-辅助端口
产品工作原理
热湿交换器是一种保温保湿气道管理工具,可以将病人呼出气体中的热量和水分部分地储存起来,再利用这些热量和水分对新进入的气体进行加温及湿化。
呼气时,来自病人的温湿气体进入热湿交换器的内侧面,湿气凝结,同时释放的热量在热湿交换介质中得以保存。吸气时,外部干燥的气体进入热湿交换器,在热湿交换器内得到湿化和温热,然后进入肺内,如此往复循环,不断利用呼气中的热度和湿度来温热和湿化吸入的气体。 产品如声称具有过滤功能,应说明过滤作用(如过滤微粒、细菌及病毒过滤等)及其原理。
注册单元划分的原则
注册单元划分参照《总局关于发布医疗器械注册单元划分指导原则的通告》(2017年第187号),着重考虑产品的技术原理、结构组成、性能指标、适用范围等因素。
产品适用的相关标准
表1 相关产品标准
| 标准编号 | 标准名称 |
|---|---|
| GB/T 191-2008 | 《包装储运图示标志》 |
| GB/T 1962.1-2015 | 《注射器、注射针及其他医疗器械用6%(鲁尔)圆锥接头 第1部分:通用要求》 |
| GB/T 2828.1-2012 | 《计数抽样检验程序 第1部分:按接收质量限(AQL)检索的逐批检验抽样计划》 |
| GB/T 14233.1-2008 | 《医用输液、输血、注射器具检验方法 第1部分:化学分析方法》 |
| GB/T 14233.2-2005 | 《医用输液、输血、注射器具检验方法 第2部分:生物学试验方法》 |
| GB/T 16886.1-2011 | 《医疗器械生物学评价 第1部分:风险管理过程中的评价与试验》 |
| GB/T 16886.5-2017 | 《医疗器械生物学评价 第5部分:体外细胞毒性试验》 |
| GB/T 16886.7-2015 | 《医疗器械生物学评价 第7部分:环氧乙烷灭菌残留量》 |
| GB/T 16886.10-2017 | 《医疗器械生物学评价 第10部分:刺激与皮肤致敏试验》 |
| YY/T 0313-2014 | 《医用高分子产品 包装和制造商提供信息的要求》 |
| YY/T 0466.1-2016 | 《医疗器械 用于医疗器械标签、标记和提供信息的符号 第1部分:通用要求》 |
| YY/T 0735.1-2009 | 《麻醉和呼吸设备 湿化人体呼吸气体的热湿交换器(HME) 第1部分:用于最小潮气量为250mL的HME》 |
| YY/T 0735.2-2010 | 《麻醉和呼吸设备 用于加湿人体呼吸气体的热湿交换器(HMEs) 第2部分:用于气管切开术患者的250mL以上潮气量的HMEs》 |
| YY/T 1040.1-2015 | 《麻醉和呼吸设备 圆锥接头 第1部分:锥头与锥套》 |
| YY/T 1040.2-2008 | 《麻醉和呼吸设备 圆锥接头 第2部分:螺纹承重接头》 |
| 注:本指导原则中标准适用最新版本,下同。声称产品具有过滤功能的,应选用相应适用的标准。 |
上述标准包括了注册产品技术要求中通常涉及到的标准。企业可根据产品的特点引用其他适用的国家、行业标准。
产品适用及引用标准的审查可以分两步来进行。首先对引用标准的齐全性和适宜性进行审查,也就是在编写产品技术要求时是否引用了与产品相关的国家标准、行业标准,以及引用是否准确。可以通过查阅其提交的研究资料,对是否引用了相关标准,以及所引用的标准是否适宜来进行审查。此时,应注意标准编号、标准名称是否完整规范,年代号是否有效。
其次对引用标准的采纳情况进行审查。即所引用的标准中的条款要求,是否在产品技术要求中进行了实质性的条款引用。这种引用通常采用两种方式,文字表述繁多内容复杂的可以直接引用标准及条文号,比较简单的也可以直接引述具体要求。
如有新版强制性国家标准、行业标准发布实施,产品性能指标等要求应执行最新版本的国家标准、行业标准。
产品的适用范围/禁忌症
热湿交换器用于提高输送给呼吸道的气体中的水分含量和温度。
禁忌症:
1. 呼吸道有大量泡沫或黏稠分泌物、脱水、咳血症或呼吸道损伤的病人禁用。
2. 对于严重肺功能不全等不能耐受通路阻力增加者禁用。
3. 对本产品材料过敏者禁用。
产品的主要风险
1. 风险分析方法
1.1 在对风险的判定及分析中,要考虑合理的可预见的情况,它们包括:正常使用条件下;非正常使用条件下;
1.2 风险判定及分析应包括:对于患者的危险(源);对于操作者的危险(源);对于环境的危险(源);
1.3 风险形成的初始原因应包括:人为因素包括不合理的操作;产品结构、原材料、综合危险(源);环境条件;
1.4 风险判定及分析考虑的问题包括:产品原材料生物学危险(源);产品质量是否会导致使用中出现不正常结果;操作信息,包括警示性语言、注意事项以及使用方法的准确性;使用可能存在的危险(源)等。
2. 风险分析清单
热湿交换器产品的风险管理报告应符合YY/T 0316-2016《医疗器械风险管理对医疗器械的应用》的有关要求,审查要点包括:
2.1 产品安全性特征判定是否准确(依据YY/T 0316-2016附录C);
2.2 危险(源)分析是否全面(依据YY/T 0316-2016附录E);
2.3 风险可接收准则,降低风险的措施及采取措施后风险的可接收程度,是否有新的风险产生。
根据YY/T 0316-2016《医疗器械 风险管理对医疗器械的应用》附录E对“热湿交换器产品”已知或可预见的风险进行判定,产品在进行风险分析时至少应包括以下的主要危险(源),企业还应根据自身产品特点确定其他危险(源)。针对产品的各项风险,企业应采取应对措施,确保风险降到可接受的程度。
表2 产品主要危险(源)
| 危险(源)的分类 | 危险(源)的形成因素 | 可能的后果 |
|---|---|---|
| 生物学危险(源) | 生物污染 | 生产环境控制不好。灭菌操作不严格。包装破损。使用时操作不正规。 |
| 生物不相容性 | 增塑剂、加工助剂、 环氧乙烷残留量超标 | 产生细胞毒性、致敏反应、急性或慢性毒性。 |
| 不正确的配方(化学成分) | 未按照工艺要求配料。小分子物质残留量过大。 | 造成毒性危害。 |
| 加工工艺 | 加工工艺控制不严格,后处理工艺控制不严格。 | 引入有害物质,引起患者感染或造成毒性危害。 |
| 再感染和/或交叉感染 | 使用不当、标识不清。 | 引起局部或者交叉感染。 |
| 环境危险(源) | 储存或运行偏离预定的环境条件 | 储运条件(如温度、湿度)不符合要求。 |
| 意外的机械破坏 | 储运、使用过程中发生意外的机械性破坏。 | 产品使用性能无法得到保证。 |
| 由于废物和/或医疗器械处置的污染 | 使用后的产品没有按照要求集中销毁。 | 造成环境污染或者细菌的交叉感染。 |
| 与医疗器械使用有关的危险(源) | 不适当的标记 | 标记不清晰、错误、 没有按照要求进行标记。 |
| 不适当的操作说明,如: 与其他器械配合使用不适当;偏离使用说明;说明书关于使用说明不全面 | 包装破损无法识别。 操作要点不突出。 | 无法保证使用安全性。 导致操作失误。 |
| 由不熟练/未经培训的人员使用 | 操作不熟练、操作失误。 | 导致延误或不正确治疗。 |
| 合理可预见的误用 | 规格型号选用错误。 | 导致无法达到满意的效果。 |
| 对一次性使用医疗器械很可能再次使用的危险(源)警告不适当 | 造成重复使用。 | 交叉感染。 |
| 不适当不合适或过于复杂的使用者接口 | 违反或缩减说明书、程序等 | 操作方法、注意事项、储存方法、警示事项等表述不清。 |
| 功能性失效、老化引起的危险(源) | 对医疗器械寿命终止缺少适当的决定 | 没有标识产品有效期。 |
| 不适当的包装(医疗器械的污染和/或变质) | 没有进行包装确认。 | 不能确保产品无菌,从而导致出现细菌感染。 |
| 再次使用和/或不适当的再次使用 | 产品标识没有明确只限一次性使用。 | 出现细菌感染、交叉感染以及粘膜损伤等现象。 |
产品的研究要求
1. 产品性能研究
应详述产品技术要求中主要性能指标及检验方法的确定依据,提供采用的原因及理论基础,提供涉及的研究性资料、文献资料和标准文本。如适用的国家标准、行业标准中有不采纳的条款,应将不采纳的条款及其理由予以阐明。
应研究的产品基本性能至少包括YY/T 0735.1-2009或YY/T 0735.2-2010规定的性能。
对于声称产品具有过滤功能的,企业应提出相应安全性、有效性的要求。
潮气量小于250mL的热湿交换器,申请人应确定评价方法或者参考YY/T 0735.1-2009或YY/T 0735.2-2010,并调整试验参数。
2. 生物相容性研究
应描述热湿交换器与人体间接接触部件的材料,以及接触的性质和时间,参照《关于印发医疗器械生物学评价和审评指南的通知》(国食药监械〔2007〕345号)、GB/T 16886.1-2011《医疗器械生物学评价 第1部分:风险管理过程中的评价与试验》的要求对其进行生物相容性评价。
3. 灭菌工艺及洁净控制工艺研究
3.1 按GB 18278.1-2015《医疗保健品灭菌 湿热 第1部分:医疗器械灭菌过程的开发、确认和常规控制要求》、GB 18279.1-2015《医疗保健产品灭菌 环氧乙烷 第1部分:医疗器械灭菌过程的开发、确认和常规控制的要求》、GB/T 18279.2-2015《医疗保健产品的灭菌 环氧乙烷 第2部分:GB 18279.1应用指南》、GB 18280.1-2015《医疗器械保健产品灭菌 辐射 第1部分:医疗器械灭菌过程的开发、确认和常规控制要求》、GB 18280.2-2015《医疗保健产品灭菌 辐射 第2部分:建立灭菌剂量》、GB/T 18280.3-2015《医疗保健产品灭菌 辐射 第3部分:剂量测量指南》、GB 18281.2-2015《医疗保健产品灭菌 生物指示物 第2部分:环氧乙烷灭菌用生物指示物》、GB/T 19633.1-2015《最终灭菌医疗器械包装 第1部分:材料、无菌屏障系统和包装系统的要求》、GB/T 19633.2-2015《最终灭菌医疗器械包装 第2部分:成形、密封和装配过程确认的要求》、YY/T 1267-2015《适用于环氧乙烷灭菌的医疗器械的材料评价》或者适用其他灭菌方式材料评价的标准、YY/T 0698系列标准等要求提交灭菌研究资料。
如果灭菌方式会导致有害物质残留,应进行相关评价。如热湿交换介质等易吸附环氧乙烷,环氧乙烷残留量超标会产生相应危害。
3.2 洁净供应的热湿交换器微生物限度、环境及管理要求及检查方法可结合申报产品的危险性程度和临床使用最不利情况参照GB 15982-2012《医院消毒卫生标准》及《中华人民共和国药典》提交研究资料。
4. 效期和包装研究
4.1 产品有效期和包装研究情况可通过实时老化或加速老化试验获得。加速老化试验可参照YY/T 0681和YY/T 0698系列标准、GB/T 19633.1-2015《最终灭菌医疗器械包装 第1部分:材料、无菌屏障系统和包装系统的要求》、GB/T 19633.2-2015《最终灭菌医疗器械包装 第2部分:成形、密封和装配过程的确认的要求》。使用的包装材料为医用级别。
4.2 申请人应提交包装研究资料,依据有关国内、国际标准进行(如GB/T 19633.1、GB/T 19633.2、ISO 11607、ASTM F2475、ASTM D4169等)对包装进行分析研究和评价。直接接触产品的包装材料的选择应至少考虑以下因素:包装材料的物理化学性能;包装材料的毒理学特性;包装材料与产品的适应性;包装材料与成型和密封过程的适应性;包装材料与灭菌或洁净控制过程的适应性;包装材料所能提供的物理、化学和微生物屏障保护;包装材料与使用者使用时的要求(如无菌开启)的适应性;包装材料与标签系统的适应性;包装材料与贮存运输过程的适应性。
产品技术要求的主要性能指标
拟定产品技术要求应符合《医疗器械注册管理办法》和《医疗器械注册申报资料要求和批准证明文件格式》(国家食品药品监督管理总局公告2014年第43号)的相关规定,按照《医疗器械产品技术要求编写指导原则》(国家食品药品监督管理总局通告2014年第9号)要求编写。
本条款给出热湿交换器的产品基本技术性能指标,但并未给出定量要求,企业可参考相应的国家标准、行业标准,如YY/T 0735.1-2009《麻醉和呼吸设备 湿化人体呼吸气体的热湿交换器(HME) 第1部分:用于最小潮气量为250mL的HME》、YY/T 0735.2-2010《麻醉和呼吸设备 用于加湿人体呼吸气体的热湿交换器(HMEs) 第2部分:用于气管切开术患者的250mL以上潮气量的HMEs》,根据企业自身产品的技术特点制定相应的技术要求。产品技术要求不得低于YY/T 0735.1-2009、YY/T 0735.2-2010等适用的相应国家/行业标准要求。
1. 物理性能
一般应包括热湿交换器患者端口接头、附加端口(呼吸辅助装置的接头/呼吸附件接头、辅助端口)、水分损失(不同潮气量的水分损失应予以评价)、压降、气体泄漏、顺应性、外观等。其中气体泄漏、顺应性不适用于连接气管切开插管的热湿交换器。
2. 化学性能
根据不同材料特性,由企业对化学性能提出要求。用环氧乙烷灭菌的产品应规定环氧乙烷残留量的要求。
3. 微生物要求
若以无菌形式提供,应进行无菌检验。
非无菌供应一次性使用的产品,若产品使用前不需要进行消毒、灭菌处理,应对其微生物限度进行评价,同时可参考《中华人民共和国药典》中微生物限度检查法进行检测。
4. 若产品包含其他附加功能(如过滤性能),应结合产品功能、结构制定相关性能要求。
同一注册单元内注册检验典型性产品确定原则
1. 同一注册单元中的典型产品是指能够代表本注册单元内其他产品安全性和有效性的产品。其功能最齐全、结构最复杂、风险最高。
2. 典型产品的确定可以通过比较同一注册单元内所有产品的技术结构、性能指标和预期用途等相应资料,说明其能够代表本注册单元内其他产品的安全性和有效性。若一个型号不能覆盖,除选择典型型号进行全性能检验外,还应选择其他型号进行差异性检验。不同材料的热湿交换介质、不同型号规格(成人、儿童等)需要差异性检验。
同一规格型号的产品检验时“水分损失”、“压降”应覆盖不同潮气量、气体流量。
产品生产制造相关要求
1. 应提供原材料质控信息,包括但不限于:原材料来源、供应商信息、原材料规范化学名称/牌号、安全性数据/化学品安全说明书、原材料符合标准/药典/医用级证明、成分分析报告/检验报告/接受准则。
2. 应当明确热湿交换器生产工艺流程,注明关键工序和特殊过程,并说明其过程控制点。
3. 有多个研制、生产场地,应当概述每个研制、生产场地的实际情况,相关的生产环境应符合《医疗器械生产质量管理规范》(国家食品药品监督管理总局公告2014年第64号)的相关要求。
4. 详细说明产品生产工艺过程及其确定的依据、质量控制标准及其可靠性论证;确认关键工艺点并阐明其对产品物理性能、化学性能、生物性能的影响;确认生产工艺的稳定性。
5. 对生产加工过程中所使用的所有辅剂、助剂、粘合剂等添加剂均应说明使用剂量,提交对残留量、可挥发物质总量的控制措施和接受标准以及安全性验证报告。例如邻苯二甲酸酯等应有限量要求。
产品的临床评价要求
按照《医疗器械临床评价技术指导原则》(国家食品药品监督管理总局通告2015年第14号)及《医疗器械注册管理办法》(国家食品药品监督管理总局令第4号)提交临床评价资料。
与《免于进行临床试验医疗器械目录》(国家药品监督管理局通告2018年第94号,以下简称《目录》)中,序号为345“一次性使用热湿交换器/过滤器”相同的产品可免于进行临床试验。申请人需提交申报产品相关信息与《目录》所述内容的对比资料和申报产品与已获准境内注册的《目录》中医疗器械的对比说明。
若无法证明申报产品与《目录》产品具有等同性,则应按照《医疗器械临床评价技术审查指导原则》其他路径开展相应工作,提供符合要求的临床评价资料。
产品的不良事件历史记录
企业应提供相关信息。
产品说明书和标签要求
产品说明书、标签和包装标识的编写要求应符合《医疗器械说明书和标签管理规定》(国家食品药品监督管理总局令第6号)和YY/T 0466.1-2016《医疗器械用于医疗器械标签、标记和提供信息的符号 第1部分:通用要求》的要求。同时应注意以下要求:
1. 使用前,应检查产品是否完好,如有破损禁止使用。
2. 打开包装,检查包装内器械是否完好无损。
3. 将本产品病人端与通气类器械连接,另一端连接呼吸管路(连接气管切开插管的热湿交换器用于完全自主呼吸患者,不用连接呼吸设备),尽量靠近患者。
4. 具有吸痰孔的连接气管切开插管的热湿交换器可通过吸痰孔进行定期吸痰。
5. 废弃产品应根据医院或当地卫生主管部门的相关规定,由有资质或经授权的机构进行无害化处理。
6. 仅限专业人员使用,使用时严格按照操作规程要求进行。
7. 使用过程中应加强呼吸道管理和监测,监测呼吸节律、频率、血氧饱和度及心率,警惕缺氧和窒息表现。出现异常时,应检查热湿交换器是否通畅,阻塞时应及时更换,或根据病人病情依照医院制定的应急预案进行处理。
8. 使用过程中还需密切关注患者呼吸道情况,一旦发现痰液黏稠或结痂的情况,就要采取主动加湿或其他措施。
9. 预期与呼吸管路、吸痰管、吸氧管等配合使用,必须保证配合使用的器械满足标准接口要求。
10. 使用无气囊的气管插管或气管切开插管,插管周围有漏气现象会降低加湿效果。
11. 切勿给热湿交换器添加水分。
12. 防止压降不可接受的增加。
13. 使用过程中压降会发生变化,连接气管切开插管的热湿交换器通氧量会发生变化。
14. 如产品中含有邻苯二甲酸酯,应提示对儿童的风险,包括处于妊娠中的婴儿或哺乳期女性。
15. 提供的信息可包括接头标准、重量、内部容积、最长推荐使用时间,其他信息可参照YY/T0735.1或者YY/T0735.2第7章的要求。
16. 如发生过敏,应立即停止使用,并及时采取相应的处置措施。
审查关注点
(一)重点关注产品技术要求编写的规范性,引用标准的适用性、准确性、有效性,是否结合产品的结构制定相应的性能指标。性能指标的确定能否满足产品的安全有效。
(二)重点关注注册申请人的产品研究资料是否全面、准确,是否体现其安全性、有效性。
(三)临床评价资料是否符合《医疗器械临床评价技术指导原则》的要求。
(四)产品检验报告:应关注检测的典型型号是否覆盖所有性能要求,检验报告所附照片中的产品结构组成、标识标签等信息,是否与其他申报资料描述相同。
(五)该产品若采用环氧乙烷灭菌,关注环氧乙烷残留量。
(六)若声称产品具有过滤功能,产品技术要求中应制定相关性能要求。

